Apple Glass呼啸而来!AR眼镜售价仅$499,预计十年内取代iPhone

2020 年 5 月 23 日 新智元





  新智元报道  

来源:知乎

编辑:梦佳、雅新

【新智元导读】苹果也要做AR眼镜了!近日科技网红Jon Prosser网上一番大爆料。售价499美金,手势交互,加LiDAR扫描仪,预计明年上市。


苹果也要做AR眼镜了!
 
坊间传闻已久,名字就叫 Apple Glass ,类比一下多年前发布的Google Glass。
 
还有人盛传, 这一款交互式设备能够取代手机,成为下一代的标准化智能硬件
 
近日,一个名叫Jon Prosser的科技网红出来爆料,此人小有名气,此前还成功预告了iPhone SE 和MacBook Pro 2020的发布时间。
        
       
苹果的营销总监一定恨死他了。5月初,Jon Prosser刚对iPhone 12爆料,现在又转向了苹果的AR眼镜。
 
在YouTube发布的视频中,Prosser说他已经看到过了苹果的原型机,提供了许多Apple Glass细节,包括主要功能,设计元素,价格和发布信息。


售价$499,手势交互,加LiDAR扫描仪


来了解一下这款Apple眼镜的具体细节吧
 
1 售价$499,可配有带度数的镜片,需要额外付费
         
 
2 无线充电
3 塑料机身,可金属代替
4 无可视摄像头,配有LiDAR扫描仪
5 运行系统 UI 名为Starboard,两个镜片可显示手势交互
6 不搭载处理器,设备将依赖与之相连的iPhone进行所有的数据处理
7 预计发布时间:2020年末或2021年初
                 
另外涉及到的两个问题,一个是 隐私保护 ,还有就是 如何操控Apple Glass
 
一旦配有摄像头,那么人们便会担心它是否会监视自己的一举一动。苹果一直以来很注重隐私保护。
               
爆料中的Apple Glass没有配备摄像头,而是 配备了LiDAR扫描仪 ,这款扫描仪可以更准确地识别物体和环境,并能作出深度分析。
 
LiDAR并非是个苹果造出来的新词儿,全称为「Light Detection and Ranging」,直译为「光学侦测和定距」,会搭载在飞机汽车上,用于测绘,判断路况等等,现在苹果通过iPad Pro和Apple Glass把它应用到了消费级市场。
                
如何控制Apple Glass呢?
 
爆料称,Apple Glass上 不会有任何按钮 ,与初代Apple Watch一样,苹果眼镜必须依赖iPhone使用,包含运算、数据处理都是依靠手机,同时还可以通过手势交互来实现控制。
 
从这个意义上讲,Apple Glass还是远无法取代苹果成为下一代标准化智能硬件。
 
苹果眼镜必将充分利用AR增强现实技术,而增强现实技术的关键技术是收集数据可以随时显示在屏幕上。
                   
据CNET去年4月的报道,有消息人士透露苹果正在研发可以同时运行AR和VR的高分辨率头显。苹果还会在这款头显上尽可能使用轻型材料,适合用户长时间佩戴。
 
Apple Glass通过所搭载UI 「Starboard」系统来在两个镜片上显示信息, 镜框支持手势操作,同时镜片是可以实现手势交互。
                 
这款眼镜将重点放在扫描苹果专有的二维码上,只有当你戴着它时,你才能感知到这款眼镜是数字的,这种体验将只对个人用户可见。


不方便一直拿着手机?解放双手黑科技


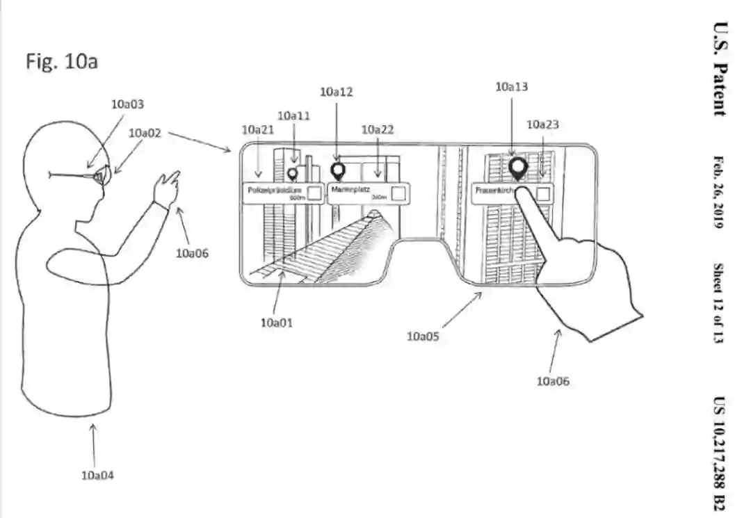
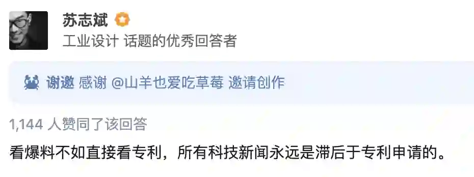
Apple Glass引发了知乎热议,从事工业设计的知乎答主苏志斌表示,看爆料不如直接看Apple Patently网站上面的专利解读。

         

感受一下,
 

               

有了Apple Glass我们就能以更直观的方式查看 AR 场景,而不用傻傻拿着ipad跑来跑去。
        
       
Apple Glass也许会 彻底解放你的双手 ,视屏聊天,开车导航,天气查询等等,需要实时了解的信息,都可以推送到眼镜前的虚拟屏幕。
 

 
去博物馆有Apple Glass就够了
 

       
集电影科幻于一身的Apple Glass,你期待吗?

参考链接:
https://www.zhihu.com/question/395940053
https://www.iphoneincanada.ca/news/prosser-apple-glass/


登录查看更多
0

相关内容

最新《Deepfakes:创造与检测》2020综述论文,36页pdf
专知会员服务
65+阅读 · 2020年5月15日
德勤:2020技术趋势报告,120页pdf
专知会员服务
192+阅读 · 2020年3月31日
Gartner:2020年十大战略性技术趋势, 47页pdf
专知会员服务
79+阅读 · 2020年3月10日
阿里巴巴达摩院发布「2020十大科技趋势」
专知会员服务
108+阅读 · 2020年1月2日
最终还是凉凉?苹果将放弃 iPad mini 更新
ZEALER订阅号
5+阅读 · 2018年8月28日
VIP会员
相关VIP内容
最新《Deepfakes:创造与检测》2020综述论文,36页pdf
专知会员服务
65+阅读 · 2020年5月15日
德勤:2020技术趋势报告,120页pdf
专知会员服务
192+阅读 · 2020年3月31日
Gartner:2020年十大战略性技术趋势, 47页pdf
专知会员服务
79+阅读 · 2020年3月10日
阿里巴巴达摩院发布「2020十大科技趋势」
专知会员服务
108+阅读 · 2020年1月2日
Top
微信扫码咨询专知VIP会员