阿里云RemoteShuffleService新功能:AQE和流控

2022 年 4 月 22 日 阿里技术


阿里云EMR自2020年推出Remote Shuffle Service(RSS)以来,帮助了诸多客户解决Spark作业的性能、稳定性问题,并使得存算分离架构得以实施。为了更方便大家使用和扩展,RSS在2022年初开源 ,欢迎各路开发者共建。RSS的整体架构请参考[1],本文将介绍RSS最新的两个重要功能:支持Adaptive Query Execution(AQE),以及流控。

一  RSS支持AQE


1  AQE简介


自适应执行(Adaptive Query Execution, AQE)是Spark3的重要功能[2],通过收集运行时Stats,来动态调整后续的执行计划,从而解决由于Optimizer无法准确预估Stats导致生成的执行计划不够好的问题。AQE主要有三个优化场景: Partition合并(Partition Coalescing), Join策略切换(Switch Join Strategy),以及倾斜Join优化(Optimize Skew Join)。这三个场景都对Shuffle框架的能力提出了新的需求。

Partition合并


Partition合并的目的是尽量让reducer处理的数据量适中且均匀,做法是首先Mapper按较多的Partition数目进行Shuffle Write,AQE框架统计每个Partition的Size,若连续多个Partition的数据量都比较小,则将这些Partition合并成一个,交由一个Reducer去处理。过程如下所示。


由上图可知,优化后的Reducer2需读取原属于Reducer2-4的数据,对Shuffle框架的需求是ShuffleReader需要支持范围Partition:

  
  
    
def getReader[K, C](    handle: ShuffleHandle,    startPartition: Int,    endPartition: Int,    context: TaskContext): ShuffleReader[K, C]

Join策略切换


Join策略切换的目的是修正由于Stats预估不准导致Optimizer把本应做的Broadcast Join错误的选择了SortMerge Join或ShuffleHash Join。具体而言,在Join的两张表做完Shuffle Write之后,AQE框架统计了实际大小,若发现小表符合Broadcast Join的条件,则将小表Broadcast出去,跟大表的本地Shuffle数据做Join。流程如下:


Join策略切换有两个优化:1. 改写成Broadcast Join; 2. 大表的数据通过LocalShuffleReader直读本地。其中第2点对Shuffle框架提的新需求是支持Local Read。

倾斜Join优化


倾斜Join优化的目的是让倾斜的Partition由更多的Reducer去处理,从而避免长尾。具体而言,在Shuffle Write结束之后,AQE框架统计每个Partition的Size,接着根据特定规则判断是否存在倾斜,若存在,则把该Partition分裂成多个Split,每个Split跟另外一张表的对应Partition做Join。如下所示。


Partiton分裂的做法是按照MapId的顺序累加他们Shuffle Output的Size,累加值超过阈值时触发分裂。对Shuffle框架的新需求是ShuffleReader要能支持范围MapId。综合Partition合并优化对范围Partition的需求,ShuffleReader的接口演化为:

  
  
    
def getReader[K, C](    handle: ShuffleHandle,    startMapIndex: Int,    endMapIndex: Int,    startPartition: Int,    endPartition: Int,    context: TaskContext,    metrics: ShuffleReadMetricsReporter): ShuffleReader[K, C]

2  RSS架构回顾


RSS的核心设计是Push Shuffle + Partition数据聚合,即不同的Mapper把属于同一个Partition的数据推给同一个Worker做聚合,Reducer直读聚合后的文件。如下图所示。


在核心设计之外,RSS还实现了多副本,全链路容错,Master HA,磁盘容错,自适应Pusher,滚动升级等特性,详见[1]。

3  RSS支持Partition合并


Partition合并对Shuffle框架的需求是支持范围Partition,在RSS中每个Partition对应着一个文件,因此天然支持,如下图所示。


4  RSS支持Join策略切换


Join策略切换对Shuffle框架的需求是能够支持LocalShuffleReader。由于RSS的Remote属性,数据存放在RSS集群,仅当RSS和计算集群混部的场景下才会存在在本地,因此暂不支持Local Read(将来会优化混部场景并加以支持)。需要注意的是,尽管不支持Local Read,但并不影响Join的改写,RSS支持Join改写优化如下图所示。


5  RSS支持Join倾斜优化


在AQE的三个场景中,RSS支持Join倾斜优化是最为困难的一点。RSS的核心设计是Partition数据聚合,目的是把Shuffle Read的随机读转变为顺序读,从而提升性能和稳定性。多个Mapper同时推送给RSS Worker,RSS在内存聚合后刷盘,因此Partition文件中来自不同Mapper的数据是无序的,如下图所示。


Join倾斜优化需要读取范围Map,例如读Map1-2的数据,常规的做法有两种:

  1. 读取完整文件,并丢弃范围之外的数据。
  2. 引入索引文件,记录每个Block的位置及所属MapId,仅读取范围内的数据。

这两种做法的问题显而易见。方法1会导致大量冗余的磁盘读;方法2本质上回退成了随机读,丧失了RSS最核心的优势,并且创建索引文件成为通用的Overhead,即使是针对非倾斜的数据(Shuffle Write过程中难以准确预测是否存在倾斜)。

为了解决以上两个问题,我们提出了新的设计:主动Split + Sort On Read。

主动Split


倾斜的Partition大概率Size非常大,极端情况会直接打爆磁盘,即使在非倾斜场景出现大Partition的几率依然不小。因此,从磁盘负载均衡的角度,监控Partition文件的Size并做主动Split(默认阈值256m)是非常必要的。

Split发生时,RSS会为当前Partition重新分配一对Worker(主副本),后续数据将推给新的Worker。为了避免Split对正在运行的Mapper产生影响,我们提出了Soft Split的方法,即当触发Split时,RSS异步去准备新的Worker,Ready之后去热更新Mapper的PartitionLocation信息,因此不会对Mapper的PushData产生任何干扰。整体流程如下图所示。


Sort On Read


为了避免随机读的问题,RSS采用了Sort On Read的策略。具体而言,File Split的首次Range读会触发排序(非Range读不会触发),排好序的文件连同其位置索引写回磁盘。后续的Range读即可保证是顺序读取。如下图所示。


为了避免多个Sub-Reducer等待同一个File Split的排序,我们打散了各个Sub-Reducer读取Split的顺序,如下图所示。


Sort优化


Sort On Read可以有效避免冗余读和随机读,但需要对Split File(256m)做排序,本节讨论排序的实现及开销。文件排序包括3个步骤:读文件,对MapId做排序,写文件。RSS的Block默认256k,Block的数量大概是1000,因此排序的过程非常快,主要开销在文件读写。整个排序过程大致有三种方案:

  1. 预先分配文件大小的内存,文件整体读入,解析并排序MapId,按MapId顺序把Block写回磁盘。


  2. 不分配内存,Seek到每个Block的位置,解析并排序MapId,按MapId顺序把原文件的Block transferTo新文件。


  3. 分配小块内存(如256k),顺序读完整个文件并解析和排序MapId,按MapId顺序把原文件的Block transferTo新文件。

从IO的视角,乍看之下,方案1通过使用足量内存,不存在顺序读写;方案2存在随机读和随机写;方案3存在随机写;直观上方案1性能更好。然而,由于PageCache的存在,方案3在写文件时原文件大概率缓存在PageCache中,因此实测下来方案3的性能更好,如下图所示。


同时方案3无需占用进程额外内存,故RSS采用方案3的算法。我们同时还测试了Sort On Read跟上述的不排序、仅做索引的随机读方法的对比,如下图所示。


整体流程


RSS支持Join倾斜优化的整体流程如下图所示。


二  RSS流控


流控的主要目的是防止RSS Worker内存被打爆。流控通常有两种方式:

  1. Client在每次PushData前先向Worker预留内存,预留成功才触发Push。


  2. Worker端反压。

由于PushData是非常高频且性能关键的操作,若每次推送都额外进行一次RPC交互,则开销太大,因此我们采用了反压的策略。以Worker的视角,流入数据有两个源:

  1. Client推送的数据
  2. 主副本发送的数据

如下图所示,Worker2既接收来自Mapper推送的Partition3的数据,也接收Worker1发送的Partition1的副本数据,同时会把Partition3的数据发给对应的从副本。


其中,来自Mapper推送的数据,当且仅当同时满足以下条件时才会释放内存:

  1. Replication执行成功
  2. 数据写盘成功

来自主副本推送的数据,当且仅当满足以下条件时才会释放内存:

  1. 数据写盘成功

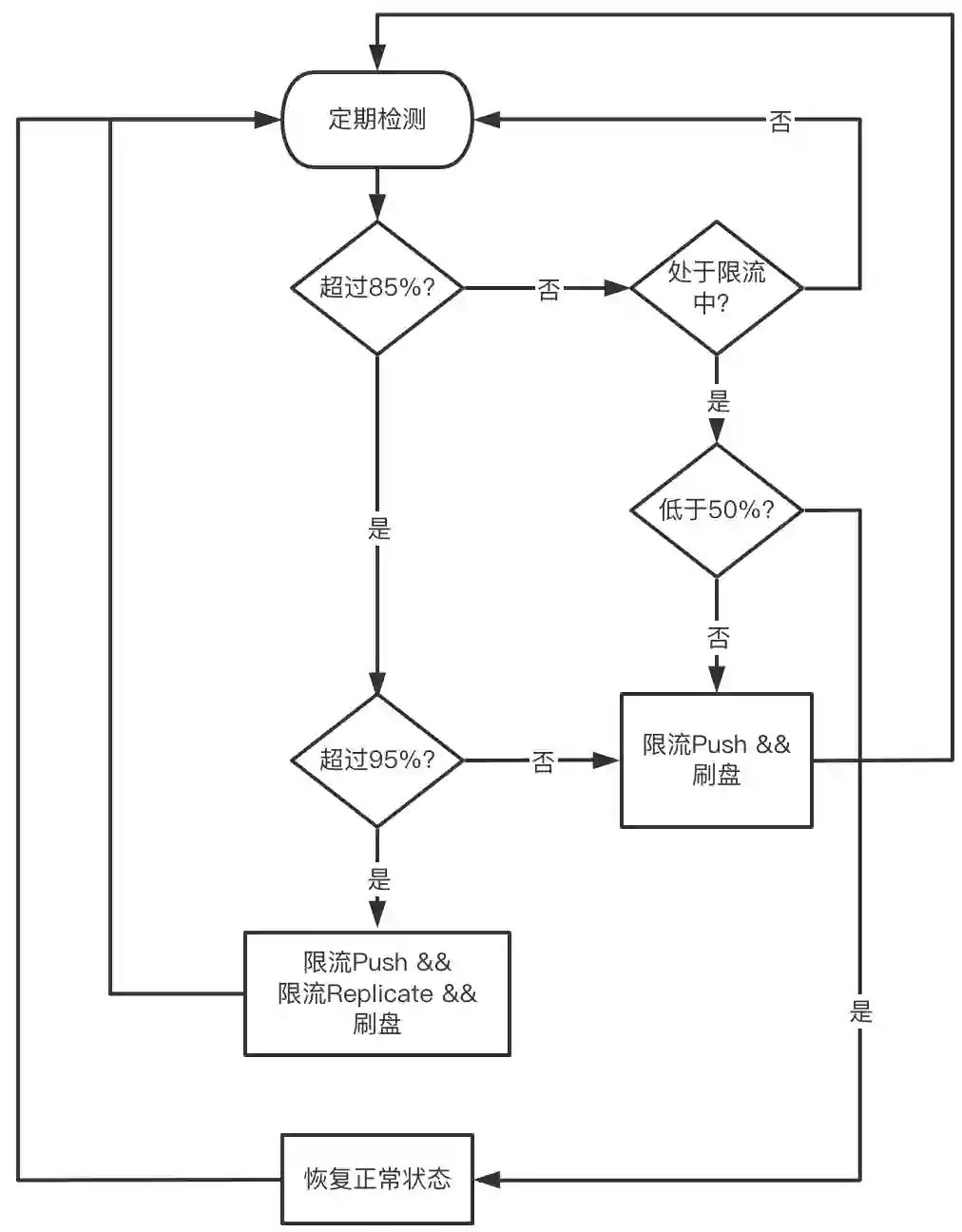
我们在设计流控策略时,不仅要考虑限流(降低流入的数据),更要考虑泄流(内存能及时释放)。具体而言,高水位我们定义了两档内存阈值(分别对应85%和95%内存使用),低水位只有一档(50%内存使用)。达到高水位一档阈值时,触发流控,暂停接收Mapper推送的数据,同时强制刷盘,从而达到泄流的目标。仅限制来自Mapper的流入并不能控制来自主副本的流量,因此我们定义了高水位第二档,达到此阈值时将同时暂停接收主副本发送的数据。当水位低于低水位后,恢复正常状态。整体流程如下图所示。


三  性能测试


我们对比了RSS和原生的External Shufle Service(ESS)在Spark3.2.0开启AQE的性能。RSS采用混部的方式,没有额外占用任何机器资源。此外,RSS所使用的内存为8g,仅占机器内存的2.3%(机器内存352g)。具体环境如下。

1  测试环境


硬件:

header 机器组 1x ecs.g5.4xlarge
worker 机器组 8x ecs.d2c.24xlarge,96 CPU,352 GB,12x 3700GB HDD。

Spark AQE相关配置:

  
  
    
spark.sql.adaptive.enabled truespark.sql.adaptive.coalescePartitions.enabled truespark.sql.adaptive.coalescePartitions.initialPartitionNum 1000spark.sql.adaptive.skewJoin.enabled truespark.sql.adaptive.localShuffleReader.enabled false

RSS相关配置:

  
  
    
RSS_MASTER_MEMORY=2gRSS_WORKER_MEMORY=1gRSS_WORKER_OFFHEAP_MEMORY=7g

2  TPCDS 10T测试集


我们测试了10T的TPCDS,E2E来看,ESS耗时11734s,RSS单副本/两副本分别耗时8971s/10110s,分别比ESS快了23.5%/13.8%,如下图所示。我们观察到RSS开启两副本时网络带宽达到上限,这也是两副本比单副本低的主要因素。


具体每个Query的时间对比如下:


相关链接


欢迎各位开发者参与讨论和共建!

github地址:
https://github.com/alibaba/RemoteShuffleService


Reference


[1]阿里云EMR Remote Shuffle Service在小米的实践,以及开源. https://developer.aliyun.com/article/857757
[2]Adaptive Query Execution: Speeding Up Spark SQL at Runtime. https://databricks.com/blog/2020/05/29/adaptive-query-execution-speeding-up-spark-sql-at-runtime.html




服务发现与配置管理高可用最佳实践

点击阅读原文查看详情
登录查看更多
0

相关内容

RSS(简易信息聚合,也叫聚合内容)是一种描述和同步网站内容的格式。RSS可以是以下三个解释的其中一个: Really Simple Syndication;RDF (Resource Description Framework) Site Summary; Rich Site Summary。但其实这三个解释都是指同一种Syndication的技术。
【NeurIPS 2020】大规模分布式鲁棒优化方法
专知会员服务
26+阅读 · 2020年10月13日
阿里云EMR Remote Shuffle Service在小米的实践
阿里技术
1+阅读 · 2022年1月17日
Proxyless Service Mesh在百度的实践与思考
InfoQ
0+阅读 · 2021年12月11日
开源微服务编排框架:Netflix Conductor
阿里技术
1+阅读 · 2021年12月2日
第四范式OpenMLDB: 拓展Spark源码实现高性能Join
去哪儿网开源DNS管理系统OpenDnsdb
运维帮
21+阅读 · 2019年1月22日
国家自然科学基金
0+阅读 · 2015年12月31日
国家自然科学基金
0+阅读 · 2014年12月31日
国家自然科学基金
0+阅读 · 2012年12月31日
国家自然科学基金
0+阅读 · 2012年12月31日
国家自然科学基金
0+阅读 · 2011年12月31日
Arxiv
0+阅读 · 2022年6月9日
Arxiv
0+阅读 · 2022年6月8日
VIP会员
相关资讯
阿里云EMR Remote Shuffle Service在小米的实践
阿里技术
1+阅读 · 2022年1月17日
Proxyless Service Mesh在百度的实践与思考
InfoQ
0+阅读 · 2021年12月11日
开源微服务编排框架:Netflix Conductor
阿里技术
1+阅读 · 2021年12月2日
第四范式OpenMLDB: 拓展Spark源码实现高性能Join
去哪儿网开源DNS管理系统OpenDnsdb
运维帮
21+阅读 · 2019年1月22日
相关基金
国家自然科学基金
0+阅读 · 2015年12月31日
国家自然科学基金
0+阅读 · 2014年12月31日
国家自然科学基金
0+阅读 · 2012年12月31日
国家自然科学基金
0+阅读 · 2012年12月31日
国家自然科学基金
0+阅读 · 2011年12月31日
Top
微信扫码咨询专知VIP会员