三星手表「卷」起来了? | 小米 12 系列快来了

2021 年 12 月 10 日 ZEALER订阅号




三星卷轴屏智能手表专利曝光

屏幕中间带有摄像头用于拍摄


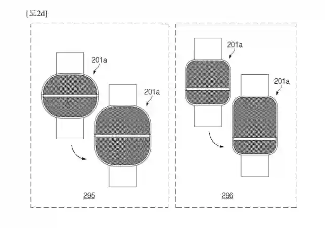
据 Letsgodigital 报道,三星电子向世界知识产权局(WIPO)提交了一项关于"包括可滚动显示屏和显示方法的电子设备"的专利,96 页的文件已于 2021 年 12 月 9 日披露。从专利来看,这是一款屏幕能够伸缩的三星 Galaxy Watch,在正常状态下,外形与 Galaxy Watch 差别不大。不过,屏幕并非一体式设计,而是采用两个半圆屏幕组成。



在两个半圆屏幕的中间,有一个狭窄的框架是用来伸缩屏幕的关键设计。用户可通过机身侧面的表冠来控制两个半圆屏幕的伸缩。此外,还可以通过滑动屏幕来控制屏幕的伸缩。如果两个屏幕完全展开的话,表盘将由圆形扩展为椭圆形,面积可扩大 40% 左右。



用户可以通过按下手表外壳侧面的小表冠来放大和缩小三星可滚动手表的屏幕,也可以在屏幕上做一个轻扫手势,之后显示面就会缩小/增加。用户可以决定是否只推出一个或两个屏幕部分,这也可以根据应用程序来设置。例如,小的显示部分可以显示操作控件,大的显示部分则可以显示应用程序。



此外,中间的框架也容纳了一个摄像头,可以选择内置几个摄像头传感器甚至是闪光灯。这款相机可以同时拍摄照片和视频。目前这只是一个专利,虽然已经详细描述了各种操作的可能性,但尚不清楚三星是否打算量产这款智能手表。也许,三星会先推出一款卷轴屏手机,才推出这款智能手表。




小米 12 标准版获 3C 认证

小米 12 系列手机保护壳曝光


继昨天 moto 抢先推出了定价低于 3000 元的骁龙 8 Gen1 机型之后,昨天小米 12 标准版也获得了 3C 认证。按照相关认证信息可以看到,这款型号为 2201123C 的未发布新机型内置 4500mAh 电池,最高支持 67W 快充。此前,小米 12 Pro 版本的入网认证已经被曝光,信息显示该机支持 120W 快充,因此可以判断小米 12 标准版与小米 12 Pro 的快充规格上会有显著差距。另外,据悉定位小屏旗舰的小米 12X 将会配备一块 6.3 英寸屏幕,支持 120Hz 高刷,搭载骁龙 870 移动平台。



而今日,网上出现了多张疑似小米 12 徕卡联名版的相关模具与手机壳内容,甚至还有手巧的网友已经迫不及待地手绘了该机的大概外观轮廓。从爆料图片中看出,小米 12 Ultra 后摄模组将采用圆形造型,中央是超大底主摄,周围分布着多达 8 个开孔,预计为潜望式长焦镜头、超广角镜头等。



小米12 Pro 手机壳背部造型与小米 12 标准版如出一辙。相机为矩阵设计,最上方的是主摄像头,这是小米定制的 5000 万像素大底 Sensor,支持 OIS 光学防抖。主摄之下是两颗副摄像头,小米 12 Pro 预计会配备超广角镜头和长焦镜头,而小米 12 预计会配备超广角镜头和微距镜头,两颗摄像头右侧开孔位置是闪光灯。随后,数码博主 @数码闲聊站 表示,小米 12 Ultra 手机背部实际上没有那么多孔,各种传感器为不可见设计。




TGA 2021 获奖名单公布

《双人成行》获 TGA 2021 年度游戏奖


TGA 是游戏届一年一度的盛典,而今天 9:00 TGA 2021 颁奖典礼在美国洛杉矶的微软剧院圆满结束。《双人成行》获得了 2021 年度的“最佳年度游戏”奖项,《凯娜:精神之桥》则获得了“最佳独立游戏”,“最佳游戏指导”奖项则由《死亡循环》斩获。颁奖仪式上同样公开了许多新老游戏的新消息,如《Alan Wake2》、《战锤40K 星际战士2》等作品。以下分别是今天的获奖游戏:



- 最佳年度游戏:《双人成行》

- 最佳游戏指导:《死亡循环》

- 最佳艺术指导:《死亡循环》

- 最佳配乐 / 音乐:《尼尔 人工生命 ver.1.22474487139...》

- 最佳音效设计:《极限竞速:地平线 5》

- 最佳手机游戏:《原神》

- 最佳叙事:《漫威银河护卫队》

- 无障碍设计创新奖:《极限竞速:地平线 5》

- 最佳动作游戏:《死亡回归》

- 最佳动作 / 冒险游戏:《密特罗德:生存恐惧》

- 最佳表演:《生化危机:村庄》

- 最佳角色扮演游戏:《破晓传说》

- 最佳格斗游戏:《罪恶装备:奋战》

- 最佳家庭游戏:《双人成行》

- 最佳模拟 / 策略游戏:《帝国时代 4》

- 最佳体育 / 竞速游戏:《极限竞速:地平线 5》

- 最佳多人游戏:《双人成行》

- 最佳首秀游戏:《柯娜:精神之桥》

- 最佳持续运营:《最终幻想 14》

- 最佳独立游戏:《柯娜:精神之桥》

- 最佳 VR/AR 游戏:《生化危机 4 VR》

- 最受期待游戏:《艾尔登法环》

- 最佳社区支持:《最终幻想 14》

- 年度内容创造者:Dream


- 最佳教练:KKomaTGA

- 最佳教练:KKoma

- 年度最佳选手:Simple(NAVI CS:GO)

- 年度最佳战队:Natus Vincere(CS:GO)

- 年度最佳赛事:2021全球总决赛(LOL)




百度官宣 27 日发布元宇宙产品“希壤” APP

百度 AI 开发者大会将在希壤 APP 举办


百度今日宣布将于 12 月 27 日发布元宇宙产品“希壤” ,届时百度 Create 2021(百度 AI 开发者大会)将在希壤 APP 举办。这场元宇宙大会可同时容纳 10 万人同屏互动。时间为 12 月 27 日-29 日,将设置 1 场主论坛和 20 场分论坛。



据了解,“希壤”APP 是首个“国产元宇宙”产品,“希壤”的造型是一个莫比乌斯环星球。城市设计融入了大量中国元素,中国山水、中国文化、中国历史都将融入城市建设和互动体验中。该产品打造了一个跨越虚拟与现实、永久续存的多人互动空间。同时,“希壤”将在视觉、听觉、交互三大方面实现技术创新突破。从 12 月 27 日起,每一个用户都可以创造一个专属的虚拟形象,在个人电脑、手机、可穿戴设备上登录“希壤”,听会、逛街、交流、看展。



百度副总裁、希壤负责人马杰表示:“目前元宇宙尚处于非常初期的产业探索阶段,其发展是循序渐进的,将由整个社区花费很长时间来共同构建并成熟。”百度表示,在探索下一代互联网的过程中,百度的努力方向是成为元宇宙引擎,为希壤以及其他元宇宙产品提供 AI 和云计算能力。






摩托罗拉 moto edge X30 免费送



全球首发骁龙 8 Gen1,摩托罗拉翻身之作?本期 ZEALER众测 重磅上线 moto edge X30 !首发高通新一代8 Gen1 旗舰芯片,超大底前后三主摄,一拍即可测量心率血氧。宣称「硬核实力」的 moto edge X30 究竟有多硬核?就等你来体验!扫上方二维码或戳左下角「阅读原文」即可抢鲜试用。

『热 门 推 荐』

登录查看更多
0

相关内容

小米公司正式成立于 2010 年 4 月,是一家以智能手机、智能硬件和 IoT 平台为核心的消费电子及智能制造公司。创业仅7年时间,小米的年收入就突破了千亿元人民币。截止 2018 年,小米的业务遍及全球 80 多个国家和地区。小米的使命是,始终坚持做“感动人心、价格厚道”的好产品,让全球每个人都能享受科技带来的美好生活。
【干货书】《日常算法》,154页pdf
专知会员服务
56+阅读 · 2022年1月22日
专知会员服务
54+阅读 · 2021年10月1日
【干货书】面向工程师的图像处理,438页pdf
专知会员服务
100+阅读 · 2021年9月9日
【上海交大】<操作系统> 2021课程,附课件
专知会员服务
42+阅读 · 2021年4月3日
【资源】100+本免费数据科学书
专知会员服务
108+阅读 · 2020年3月17日
小米 12 Ultra 曝光,徕卡加持的新一代影像旗舰?
ZEALER订阅号
0+阅读 · 2021年12月13日
搭载 MIUI 13 的小米 12,会成为新的「钉子户」吗?
ZEALER订阅号
0+阅读 · 2021年11月30日
国家自然科学基金
0+阅读 · 2012年12月31日
国家自然科学基金
0+阅读 · 2011年12月31日
国家自然科学基金
1+阅读 · 2009年12月31日
国家自然科学基金
0+阅读 · 2009年12月31日
Arxiv
0+阅读 · 2022年4月17日
Arxiv
17+阅读 · 2021年2月15日
VIP会员
相关VIP内容
【干货书】《日常算法》,154页pdf
专知会员服务
56+阅读 · 2022年1月22日
专知会员服务
54+阅读 · 2021年10月1日
【干货书】面向工程师的图像处理,438页pdf
专知会员服务
100+阅读 · 2021年9月9日
【上海交大】<操作系统> 2021课程,附课件
专知会员服务
42+阅读 · 2021年4月3日
【资源】100+本免费数据科学书
专知会员服务
108+阅读 · 2020年3月17日
相关基金
国家自然科学基金
0+阅读 · 2012年12月31日
国家自然科学基金
0+阅读 · 2011年12月31日
国家自然科学基金
1+阅读 · 2009年12月31日
国家自然科学基金
0+阅读 · 2009年12月31日
Top
微信扫码咨询专知VIP会员