强光下拥有更好表现,HoloLens最新专利

2018 年 7 月 11 日 AR酱


随着AR的发展,AR的普及和使用范围越来越广,AR也更多的参与到了人们的学习与工作当中了,例如各种工业AR应用和解决方案如雨后春笋般冒出。

不过在其中AR也存在许多局限性,比如在强光下的工作条件下,比如在户外工作的时候显示效果会受到非常大的影响,这将会造成极大的影响。

一个是功耗的问题,在户外明亮的条件下,AR影像也需要调高亮度,这个时候显示器的功耗就会造成很大的影响;还有一个就是在强光下,AR影像会呈现一种透明状的样子,就像褪色了一样;还有一个就是有一些光源会变成伪像,比如彩虹状的重影。


而且使用AR时的照明条件范围是十分广泛的,从昏暗的室内(10lux)到铺满阳光的户外(比如120000lux)。如何解决AR在强光下工作,还能保持全范围内的优质量呢?HoloLens在7月5号公布的新专利可能会给我们一种解决方案,让我们一起来看看吧。


如何在强光下工作,简单来讲如何减少环境输入的光强,HoloLens采取了两个步骤。


众所周知,HoloLens在眼镜的前方是有一个光罩的,第一个步骤也是与此有关的。在这个光罩上面涂上一层光敏变色材料,这种材料将会吸收一部分的光。同时这个光敏材料涂层还会响应紫外线(UV),通过紫外线的强度来改变光的吸收率。


以太阳光为例,在接收到UV光时,涂层响应从而会变暗。在完全没有光的时候,涂层是完全透明的;在明亮阳光下,涂层变暗使得透过率仅变为15%,这就使得120000lux的光量缩减成为了18000lux;而在室内的时候,同样的涂层拥有85%的透过率,甚至是透明的100%透过率。


而且随紫外线强度变化是材料本身的性质,无需其他控制。在其他方案的时候,可以不仅仅只对紫外线反应。而厚度仅需150μm,甚至更薄。


而且这种材料是高分子聚合物,而光罩的材料可以是聚碳酸酯,或者是塑料和玻璃,这也意味着,可以将光敏变色材料与光罩做成一体,而不是涂层了。


涂层分为了两部分,一个部分是光罩上半部分104a,该部分涂层将会对部分红外光透明,但专利并未就此讨论过多,以上的涂层仅为光罩下半部分的104b适用。


但是仅仅靠这层涂层还是不够的,是因为除了光强会影响到涂层的性质,环境的温度和涂层自身的老化程度也会影响到材料对于光的敏感性。

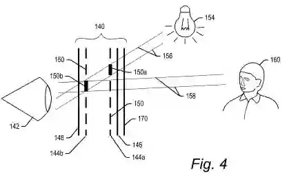
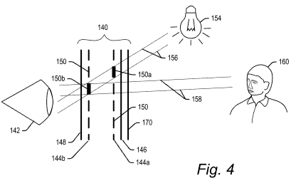
这个时候就要进行下一步了,HoloLens另一个技术像素化单色调光面板组件140,用以控制输送到佩戴者眼睛的光量。


调光面板可以减小所有透过面板的像素的光亮,基于不透明掩模中的指定的位置可变的逐个调整每个像素的透过的光量。同时通过这个可以调整AR图像后的像素光量,将他们调暗,并且将AR图像周围变暗做出阴影,这可以使得AR图像更加的真实。


强光下的问题现在就基本解决了,不过使用调光面板的时候,会使得光无法聚焦或者是模糊,这时通过两个间隔开的LC面板144a、144b,通过阻挡特定的光矢量,从而提供定向光控制以及更清晰的对比度。


LC面板由一对涂有一层氧化铟锡(ITO)导电膜的玻璃板和其之间的液晶组成,可以通过光刻来形成取向层。液晶将会以各自的螺旋图案取向,通过光的组合旋度来确定是否会被阻挡。









同时还需要由头部跟踪给出头部位置和眼动追踪给出眼睛正在看向哪里这些附加信息,来确定眼睛与物体之间的路径,来确定哪些物体在AR图像前,哪些在AR图像后。


这些步骤都完成了,也就能够在强光下工作了。但是还是要考虑到个体的差异性的,考虑到用户的亮度偏爱水平,可以使用一些预定的标准亮度,或者是基于电量适当的调整亮度。在低电量的时候,将AR图像和环境都变暗以保证对比度

HoloLens的这个方案,实行起来并没有太大的难度和较高成本,而HoloLens 2也将要出世,希望这项专利能够使用,让AR眼镜大大方方的出现在户外的阳光下。


登录查看更多
0

相关内容

Microsoft HoloLens 是由 Microsoft 公司于北京时间 2015 年 1 月 22 日凌晨发布的一款增强现实全息眼镜。
【KDD2020】多源深度域自适应的时序传感数据
专知会员服务
62+阅读 · 2020年5月25日
【干货书】流畅Python,766页pdf,中英文版
专知会员服务
227+阅读 · 2020年3月22日
计算机视觉在制造业应用的十大最新案例
极市平台
29+阅读 · 2019年8月25日
同质结中的“超注入”现象:半导体光源迎来新机遇!
干货——图像分类(上)
计算机视觉战队
27+阅读 · 2018年8月28日
机器视觉技术的农业应用研究进展
科技导报
7+阅读 · 2018年7月24日
HoloLens新应用:扫描脸部就能读出你的心跳
雷锋网
3+阅读 · 2018年3月3日
有了场景和画像才懂用户
互联网er的早读课
6+阅读 · 2017年8月26日
Factor Graph Attention
Arxiv
6+阅读 · 2019年4月11日
Arxiv
5+阅读 · 2019年4月8日
A Comprehensive Survey on Graph Neural Networks
Arxiv
13+阅读 · 2019年3月10日
Arxiv
4+阅读 · 2018年5月4日
Arxiv
6+阅读 · 2018年3月31日
VIP会员
相关资讯
计算机视觉在制造业应用的十大最新案例
极市平台
29+阅读 · 2019年8月25日
同质结中的“超注入”现象:半导体光源迎来新机遇!
干货——图像分类(上)
计算机视觉战队
27+阅读 · 2018年8月28日
机器视觉技术的农业应用研究进展
科技导报
7+阅读 · 2018年7月24日
HoloLens新应用:扫描脸部就能读出你的心跳
雷锋网
3+阅读 · 2018年3月3日
有了场景和画像才懂用户
互联网er的早读课
6+阅读 · 2017年8月26日
Top
微信扫码咨询专知VIP会员