一代经典落幕!iPhone 4S/6S 被列入过时产品

2022 年 6 月 1 日 ZEALER订阅号




iPhone 4S 和 6S 将被列入过时产品

还有初代 iPad Pro、Apple TV HD


据 MacRumors 报道,苹果公司本周发给授权服务商和苹果商店的内部备忘录中提到,iPhone 4S、iPhone 6S(32GB 版本)、iPhone 6s plus(32GB 版本)和第一代 iPad Pro 这几个产品将在今年 6 月底被列入过时产品名单,并且苹果官方不再为这些产品提供维修服务,往后只能去授权服务商处以及苹果商店零售店进行维修了,并且维修服务最多只能到 2024 年。



2015 年 11 月发布的第一代 iPad Pro 配备 12.9 英寸显示屏,比之前所有 iPad 型号的 9.7 英寸显示屏大得多。除了该设备,苹果还推出了适用于 iPad 的 Smart Keyboard 和 Apple Pencil,这使得 iPad Pro 更像是微软 Surface 等混合平板电脑的直接竞争对手。Smart Keyboard 以磁性方式连接到 iPad Pro 的新 Smart Connector。



iPhone 4S 和 iPhone 6S 分别是苹果在 2011 年 10 月和 2015 年 9 月发布的智能手机,由于这两款手机优秀的性能及配置,再加上时间的沉淀,被一众网友誉为“神机”,甚至现在还有人在使用。



不过这两款手机的各项属性放到现在来看已经不太够用了,尤其是存储方面,现在的 APP 动辄几个 G,放到以前的手机里很快就能把存储空间占满,而苹果也早已停止了这些产品的生产销售,所以被列为过时产品也是理所当然的。



此外,还有多个消息来源称,苹果备忘录显示“Apple TV HD”也将在 6 月底被归类为过时设备,尽管苹果继续销售具有 32GB 存储空间的设备。一种可能的解释是“Apple TV HD”是叫法错误,苹果实际上是指第三代 Apple TV 的“Rev A”版,该版本于 2016 年 10 月停产,但在此之后的一段时间内仍可作为缺货订单,这意味着该设备可能在最后一次分发后才达到五年。据分析师郭明錤称,苹果计划在 2022 年下半年发布新的 Apple TV。




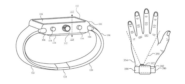
Apple Watch 正在研究加入摄像头

或将支持手表拍摄与视频通话


以往 Apple Watch 并没有摄像头,但是这一现状或许将被打破。近日,来自一份专利信息显示,苹果正在研究把摄像头装到 Apple Watch。而根据专利文档显示,手表会包含一个可旋转的表冠,组件中包含一个摄像头,可以通过该组件捕获图像。而图像传感器除了可用于拍摄照片的相机以外,还可以用来检测刻度旋转的传感器感测旋转输入。



而从专利图来看,Apple Watch 的摄像头被设计在手表的侧框,搭配手机佩戴使用,摄像头可以沿着手指的方向进行拍摄,预计 Apple Watch 的屏幕会作为取景框使用。而该项功能的加入,为手表的视频通话、手表扫码、手表拍照等功能提供了可能。



其实很早之前,便已经有智能手表加入了摄像头,摄像头摆放的位置设计在手表的侧框或者屏幕的正面,除了可以拍照以外,也可以视频通话,尤其一些国产的儿童电话手表,大部分都加入了摄像头。




谷歌二代 Tensor 或于 6 月量产

采用三星 4nm 制程工艺


在谷歌 I/O 2022 开发者大会上,谷歌发布并展示了一系列产品,其中就谈及了今年即将发布的新一代旗舰智能手机 Pixel 7 和 Pixel 7 Pro,将搭载第二代 Tensor SoC,不过并未透露太多的细节。



据 DDaily 报道,谷歌在第二代 Tensor SoC 选择采用三星 4nm 工艺制造,并引入 PLP 封装技术,相比第一代 Tensor SoC 采用的是三星 5nm 工艺做了升级。据称三星将会在 6 月份量产第二代 Tensor SoC,不过谷歌具体什么时候发布 Pixel 7 和 Pixel 7 Pro 暂时还不能确定。



谷歌是在 2021 年 10 月份发布 Pixel 6 和 Pixel 6 Pro,今年 Pixel 7 和 Pixel 7 Pro 大概也会在秋季。据悉三星之所以成为第二代 Tensor SoC 的唯一晶圆代工厂,其中涉及了多方面的因素。目前三星向谷歌提供 DRAM 和 NAND 闪存,并负责制造 Waymo 自动驾驶芯片,未来甚至还可能负责谷歌服务器芯片的生产,双方有着牢固的合作基础。此外,传闻谷歌可能和高通一样,难以拒绝三星的报价,如果选择台积电很可能还要另外加价。




英伟达或在 8 月发布 RTX 4090

RTX 30 显卡仍面临库存压力


随着发布时间的临近,最近一段时间有关 GeForce RTX 40 系列的消息越来越多,首批基于 Ada Lovelace 架构的显卡应该会有三款,分别是 GeForce RTX 4090 / RTX 4080 / RTX 4070。不过此前刻有“RTX 4090 Ti”字样的银色散热器金属边框照片泄露,似乎印证了还有更为顶级的型号。



据 VideoCardz 报道,GeForce RTX 4090 / RTX 4080 / RTX 4070 三款显卡使用了不同的 GPU,分别为 AD102、AD103 和 AD104。其中 RTX 4090 和 RTX 4080 之间可能有比较多的共同点,比如采用相同的 PCB 设计,均为 PG139,不过不确定 AD102 和 AD103 之间引脚是否相同。由于每一款显卡搭载的 GPU 不同,加上英伟达尚未向合作伙伴更新信息,所以暂时还很难确定具体的规格。



据称,GeForce RTX 4090 将会在 8 月份首次亮相,而 GeForce RTX 4080 则要到 9 月份,GeForce RTX 4070 应该排到了 10 月份,不过这只是暂定的时间,仍存在变化的可能。传闻原因与此前报道有关,即英伟达的合作伙伴仍有大量的 GeForce RTX 30 系列库存,不太想英伟达这么快发布新一代产品。



即便 GeForce RTX 4090 / RTX 4080 / RTX 4070 一同亮相,但实际上市时间仍可能是错开的,相互之间会相隔几周。虽然曾有传言英伟达想提前到 7 月中旬发布,不过现在看起来似乎不太可能。






   雷蛇炼狱蝰蛇 V2X 鼠标免费送



大魔王 Faker 同款鼠标,你不来体验一下?搭载雷蛇低延迟无线技术,操作跟手不延迟、人体工学设计,长时间握持也不再疲惫、还有 14000DPI 的超高精度,让你实现像素级精准瞄准、自带7个可编程按键,助你实现一键神操作,扫上方二维码或戳左下角「阅读原文」即可前往参与。


『热门推荐』


登录查看更多
0

相关内容

Apple - Apple TV - HD iTunes content and more on your TV. apple.com/appletv/
周志华教授:关于深度学习的一点思考
专知会员服务
122+阅读 · 2021年11月23日
专知会员服务
69+阅读 · 2021年5月8日
专知会员服务
22+阅读 · 2021年4月1日
专知会员服务
78+阅读 · 2021年3月16日
《2021年中国AIoT产业全景图谱》白皮书,244页pdf
专知会员服务
131+阅读 · 2021年1月16日
【2020新书】C语言编程傻瓜式入门,第二版,464页pdf
专知会员服务
66+阅读 · 2020年10月15日
专知会员服务
165+阅读 · 2020年7月26日
首批带有Touch Bar的MacBook Pro将被列为过时产品
苹果要推出 iPhone 14 Plus?
ZEALER订阅号
0+阅读 · 2022年6月28日
iPhone 14 系列定了!
ZEALER订阅号
0+阅读 · 2022年3月29日
iPhone SE 3,不长这样
ZEALER订阅号
0+阅读 · 2022年1月18日
iPhone 6 Plus被苹果加入到过时产品清单中
威锋网
0+阅读 · 2021年12月2日
iPhone 13 系列电池续航优势领先 | Surface Pro 8 开启预售
ZEALER订阅号
0+阅读 · 2021年10月12日
iPhone 13 的屏幕,只有苹果能修?
ZEALER订阅号
0+阅读 · 2021年9月28日
国家自然科学基金
0+阅读 · 2014年12月31日
国家自然科学基金
1+阅读 · 2014年12月31日
国家自然科学基金
0+阅读 · 2013年12月31日
国家自然科学基金
0+阅读 · 2013年12月31日
国家自然科学基金
0+阅读 · 2012年12月31日
国家自然科学基金
0+阅读 · 2012年12月31日
国家自然科学基金
0+阅读 · 2011年12月31日
Arxiv
0+阅读 · 2022年7月28日
Arxiv
26+阅读 · 2018年9月21日
VIP会员
相关VIP内容
周志华教授:关于深度学习的一点思考
专知会员服务
122+阅读 · 2021年11月23日
专知会员服务
69+阅读 · 2021年5月8日
专知会员服务
22+阅读 · 2021年4月1日
专知会员服务
78+阅读 · 2021年3月16日
《2021年中国AIoT产业全景图谱》白皮书,244页pdf
专知会员服务
131+阅读 · 2021年1月16日
【2020新书】C语言编程傻瓜式入门,第二版,464页pdf
专知会员服务
66+阅读 · 2020年10月15日
专知会员服务
165+阅读 · 2020年7月26日
相关资讯
首批带有Touch Bar的MacBook Pro将被列为过时产品
苹果要推出 iPhone 14 Plus?
ZEALER订阅号
0+阅读 · 2022年6月28日
iPhone 14 系列定了!
ZEALER订阅号
0+阅读 · 2022年3月29日
iPhone SE 3,不长这样
ZEALER订阅号
0+阅读 · 2022年1月18日
iPhone 6 Plus被苹果加入到过时产品清单中
威锋网
0+阅读 · 2021年12月2日
iPhone 13 系列电池续航优势领先 | Surface Pro 8 开启预售
ZEALER订阅号
0+阅读 · 2021年10月12日
iPhone 13 的屏幕,只有苹果能修?
ZEALER订阅号
0+阅读 · 2021年9月28日
相关基金
国家自然科学基金
0+阅读 · 2014年12月31日
国家自然科学基金
1+阅读 · 2014年12月31日
国家自然科学基金
0+阅读 · 2013年12月31日
国家自然科学基金
0+阅读 · 2013年12月31日
国家自然科学基金
0+阅读 · 2012年12月31日
国家自然科学基金
0+阅读 · 2012年12月31日
国家自然科学基金
0+阅读 · 2011年12月31日
Top
微信扫码咨询专知VIP会员