HoloLens新专利,多种方法扩展FOV

2018 年 7 月 30 日 AR酱



如何提高头戴设备的FOV一直是厂商们研发中的重点,因为头戴设备的FOV不足是无法创造完全沉浸的体验。有一种十分简单粗暴的方法,就是增加显示设备的尺寸,这样自然FOV会变大,但是成本和重量的约束让这个方案变得不切实际。因为典型的显示设备已经十分复杂,制作起来十分昂贵。同时,用户在使用时周边视觉较少,这也是一种资源的浪费。


所以只好在显示设备本身上下功夫了,HoloLens在17年1月提交的专利就是这种解决方案,而该专利在近日审核通过了,让我们一起来看看吧


HoloLens这次的专利,提供了三种解决方案,重点是后两种方案中使用的小透镜阵列来达到扩大FOV的目的。通过光源向小透镜阵列的相应小透镜发射光线,小透镜再折射入人眼,来扩大FOV。


通常来说使用小透镜会影响透视性能,因为表面会反射光线。但是在设计的时候,采用部分反射的表面,将仍然透过一部分光,与此同时将表面与折射率先关,使得光的失真被最小化或者消除。


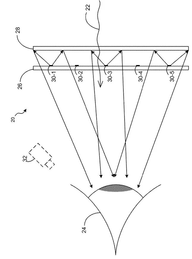
第一种是显示方案20,主要由发光基板26和全息基板28组成。

光源30-1~30-5用粘合剂固定在发光基板26上,可以是无机发光二极管(ILED),比OLED更小、更有效,并且不易受到水分的伤害 。


工作时光源向全息基板发光,全息基板由光学元件组成,可将数字图像编码到全息基板的表面。眼动追踪器32提供信息,使得显示设备根据眼睛位置渲染图像,让图像通过电子和光学的方式设置到用户的瞳孔位置。



第二种方案显示装置34,主要由光源36、小透镜阵列38组成。

小透镜指的是相对来说很小的透镜,使用的还是传统的研磨,抛光工艺制造。在一些案例中,还可以使用布拉格透镜或者是菲涅尔透镜等其他适合环境需要的光学元件。


这里就不是方案1中的反射原理了,光源直接将光发射到其对应的小透镜上,小透镜将光聚焦后朝向用户的眼睛,再经过人眼的聚焦就能获得清晰的图像了。

而小透镜的材料也可以是其他材料,比如电敏性材料。比如在断电时,小透镜基本保持光学平坦的状态,使得透过小透镜的光基本不变。当通电时,小透镜可以重新调节光向,使得光线对准用户的眼睛。


或者是用流体填充结构来替代小透镜,这样就能获得可切换的小透镜阵列了。通过在基板上设计可延展的薄膜,来形成填充流体的空腔。在施加压力的时候,膜产生弯曲来形成透镜,没有压力的时候,结构保持不变。


还有一种方法就是使用布拉格光栅小透镜,利用布拉格光栅技术生成可切换衍射小透镜阵列。施加电场,使得液晶分子对准并使透镜失活 。



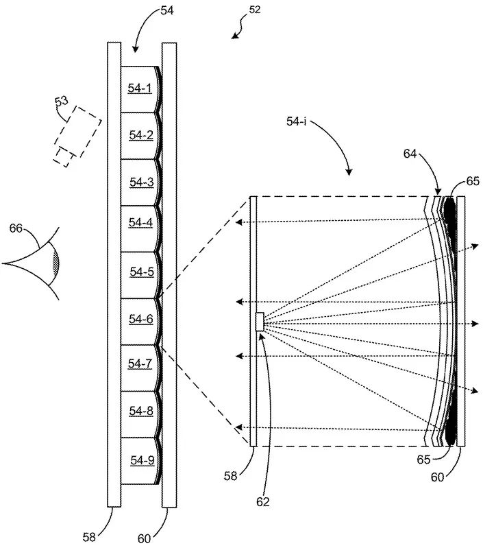
第三种虽然使用的还是小透镜,却是反射的方案。主要组成是渲染元件54,右侧为原件的放大图。

原件主要由光源62和小透镜64组成,光源以发散式发射光,小透镜的折射率的设计可以补偿空气层和基板之间的折射率失配,而折射率则用填充进小透镜内的流体来决定。


小透镜上涂有一层反射涂层,可以准直的将光线发送到用户的眼睛,同时在反射的时候,光源还会透过一部分,使得用户会感觉图像再无限远处的感觉。经过设计,也能够让用户感受到图像的距离是有限的。


因为小透镜是可调的,通过眼动追踪收集到的信息,或通过电场或通过压力改变透镜。这也使得设备的眼睛位置的范围很大,设备在很大的一段范围内都能够补偿瞳孔移动带来的变化。

通过这三种方案,尤其是后面两种,FOV被极大的扩展,从专利描述来看,这项技术花费很小从而达到了很好的效果,至于会不会用在新出的HoloLens 2上呢,就不得而知了。


登录查看更多
0

相关内容

Microsoft HoloLens 是由 Microsoft 公司于北京时间 2015 年 1 月 22 日凌晨发布的一款增强现实全息眼镜。
【ICML2020】对比多视角表示学习
专知会员服务
53+阅读 · 2020年6月28日
FPGA加速系统开发工具设计:综述与实践
专知会员服务
69+阅读 · 2020年6月24日
专知会员服务
81+阅读 · 2020年6月20日
基于视觉的三维重建关键技术研究综述
专知会员服务
166+阅读 · 2020年5月1日
3D目标检测进展综述
专知会员服务
193+阅读 · 2020年4月24日
【北航】面向自然语言处理的预训练技术研究综述
专知会员服务
114+阅读 · 2020年4月23日
【论文扩展】欧洲语言网格:概述
专知会员服务
8+阅读 · 2020年3月31日
深度神经网络实时物联网图像处理,241页pdf
专知会员服务
78+阅读 · 2020年3月15日
【新书】Python中的经典计算机科学问题,224页PDF
专知会员服务
57+阅读 · 2019年12月31日
目标检测实用中可以改进的方向
极市平台
11+阅读 · 2019年5月4日
【质量检测】机器视觉表面缺陷检测综述
产业智能官
30+阅读 · 2018年9月24日
机器视觉技术的农业应用研究进展
科技导报
7+阅读 · 2018年7月24日
鹰眼科技:3D视觉 解决树脂塞孔检测难题
未来产业促进会
5+阅读 · 2018年6月10日
已删除
将门创投
4+阅读 · 2018年5月31日
深度剖析卷积神经网络
云栖社区
7+阅读 · 2018年5月27日
150个摄影测量与遥感术语
无人机
6+阅读 · 2018年4月22日
HoloLens新应用:扫描脸部就能读出你的心跳
雷锋网
3+阅读 · 2018年3月3日
干货|全景视频拼接的关键技术分析
全球人工智能
13+阅读 · 2017年7月15日
Arxiv
7+阅读 · 2020年3月1日
Real-time Scalable Dense Surfel Mapping
Arxiv
5+阅读 · 2019年9月10日
Self-Driving Cars: A Survey
Arxiv
41+阅读 · 2019年1月14日
Learning Implicit Fields for Generative Shape Modeling
Arxiv
11+阅读 · 2018年12月6日
VIP会员
相关VIP内容
【ICML2020】对比多视角表示学习
专知会员服务
53+阅读 · 2020年6月28日
FPGA加速系统开发工具设计:综述与实践
专知会员服务
69+阅读 · 2020年6月24日
专知会员服务
81+阅读 · 2020年6月20日
基于视觉的三维重建关键技术研究综述
专知会员服务
166+阅读 · 2020年5月1日
3D目标检测进展综述
专知会员服务
193+阅读 · 2020年4月24日
【北航】面向自然语言处理的预训练技术研究综述
专知会员服务
114+阅读 · 2020年4月23日
【论文扩展】欧洲语言网格:概述
专知会员服务
8+阅读 · 2020年3月31日
深度神经网络实时物联网图像处理,241页pdf
专知会员服务
78+阅读 · 2020年3月15日
【新书】Python中的经典计算机科学问题,224页PDF
专知会员服务
57+阅读 · 2019年12月31日
相关资讯
目标检测实用中可以改进的方向
极市平台
11+阅读 · 2019年5月4日
【质量检测】机器视觉表面缺陷检测综述
产业智能官
30+阅读 · 2018年9月24日
机器视觉技术的农业应用研究进展
科技导报
7+阅读 · 2018年7月24日
鹰眼科技:3D视觉 解决树脂塞孔检测难题
未来产业促进会
5+阅读 · 2018年6月10日
已删除
将门创投
4+阅读 · 2018年5月31日
深度剖析卷积神经网络
云栖社区
7+阅读 · 2018年5月27日
150个摄影测量与遥感术语
无人机
6+阅读 · 2018年4月22日
HoloLens新应用:扫描脸部就能读出你的心跳
雷锋网
3+阅读 · 2018年3月3日
干货|全景视频拼接的关键技术分析
全球人工智能
13+阅读 · 2017年7月15日
Top
微信扫码咨询专知VIP会员